DMA

概述

DMA( Direct Memory Access, 直接存储访问)能够支持存储器与外设之间,存储器与存储器之间的多通道数据传输。

功能特性

DMA 支持如下特性:

  • 字( word )地址不对齐传输和字节传输。

  • 多通道传输(通道的优先级可配置)。

  • 支持 DMA 描述链表结构。

  • 三种传输方向:存储器 → 存储器( MEM → MEM )、外设 → 存储器( PERI → MEM )、和存储器 → 外设( MEM → PERI )。所有通道均支持传输方向自定义。

  • 按固定地址访问( FIFO 模式)或按数据位宽地址增加访问。

  • 每个通道都可指定任意硬件请求作为外设请求。

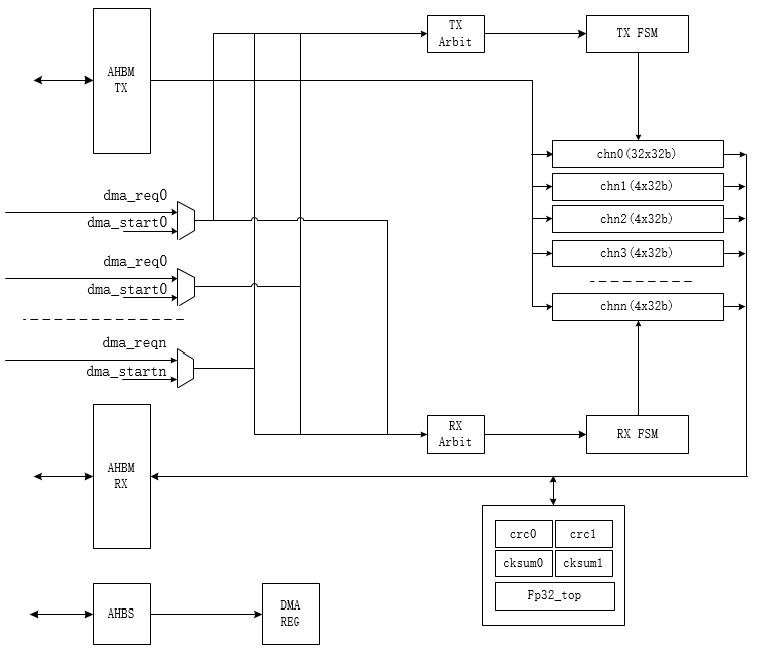
架构图

../../_images/DMA_architecture.png

用法流程

注:各外设与内存数据交互皆调用各外设特定的dma传输函数(内含调用除 wq_dma_init 和 wq_dma_deinit 以外的函数)

参考示例

/examples/dma_demo/

API 介绍

Typedefs

typedef struct wq_dma_buf_entry wq_dma_buf_entry_t
typedef void (*wq_dma_memcpy_done_cb)(void *dst, void *src, uint32_t length, void *param)

dma memory copy done callback func. Invoke when dma memory copy is done.

Param dst:

is the destination memory pointer to the dma transfer.

Param src:

is the source memory pointer to the dma transfer.

Param length:

is the length of dma transfer.

Param param:

is a pointer to the returned parameter.

Functions

WQ_RET wq_dma_init(void)

This function is to initialize dma.

备注

This function needs to be called before all functions that use dma are called.

返回:

  • WQ_RET_OK Success.

WQ_RET wq_dma_deinit(void)

This function is to deinitialize dma.

返回:

  • WQ_RET_OK Success.

WQ_RET wq_dma_memcpy(void *dst, const void *src, uint32_t length, wq_dma_memcpy_done_cb cb, void *param)

This function is to copy data form memory to memory by dma.

参数:
  • dst -- is the destination memory pointer to the dma transfer.

  • src -- is the source memory pointer to the dma transfer.

  • length -- is the length of dma transfer.

  • cb -- is the dma memory copy done callback function.

  • param -- is a pointer to the returned parameter.

返回:

  • WQ_RET_OK Success.

  • WQ_RET_NOMEM No memory to save dma transfer cfg.

uint32_t wq_dma_memcpy_group(const wq_dma_buf_entry_t src_bufs[], const wq_dma_buf_entry_t dst_bufs[], wq_dma_memcpy_done_cb cb, void *param)

This function is to copy data group form memory to memory by dma.

参数:
  • src_bufs -- is the buffers of the information of source memory transfer by dma.

  • dst_bufs -- is the buffers of the information of destination memory transfer by dma.

  • cb -- is the dma memory copy done callback function.

  • param -- is a pointer to the returned parameter.

返回:

  • WQ_RET_OK Success.

  • WQ_RET_INVAL The sum of src lengths is not equal to the sum of dst lengths./The sum of src or dst lengths is 0.

  • WQ_RET_NOMEM No memory to save dma transfer cfg.

struct wq_dma_buf_entry

Public Members

uint8_t *addr

dma buffer addr

uint32_t len

dma buffer addr length